Mercruiser 140 Fuel Pump Diagram mercruiser 140

[diagram] mercruiser mcm 140 engine diagram fuel pump omc 120 140 153 181 224 225 250 mercruiser 120 153 140 160 ... Exploring the inner workings of the mercruiser 140: a visual parts diagram

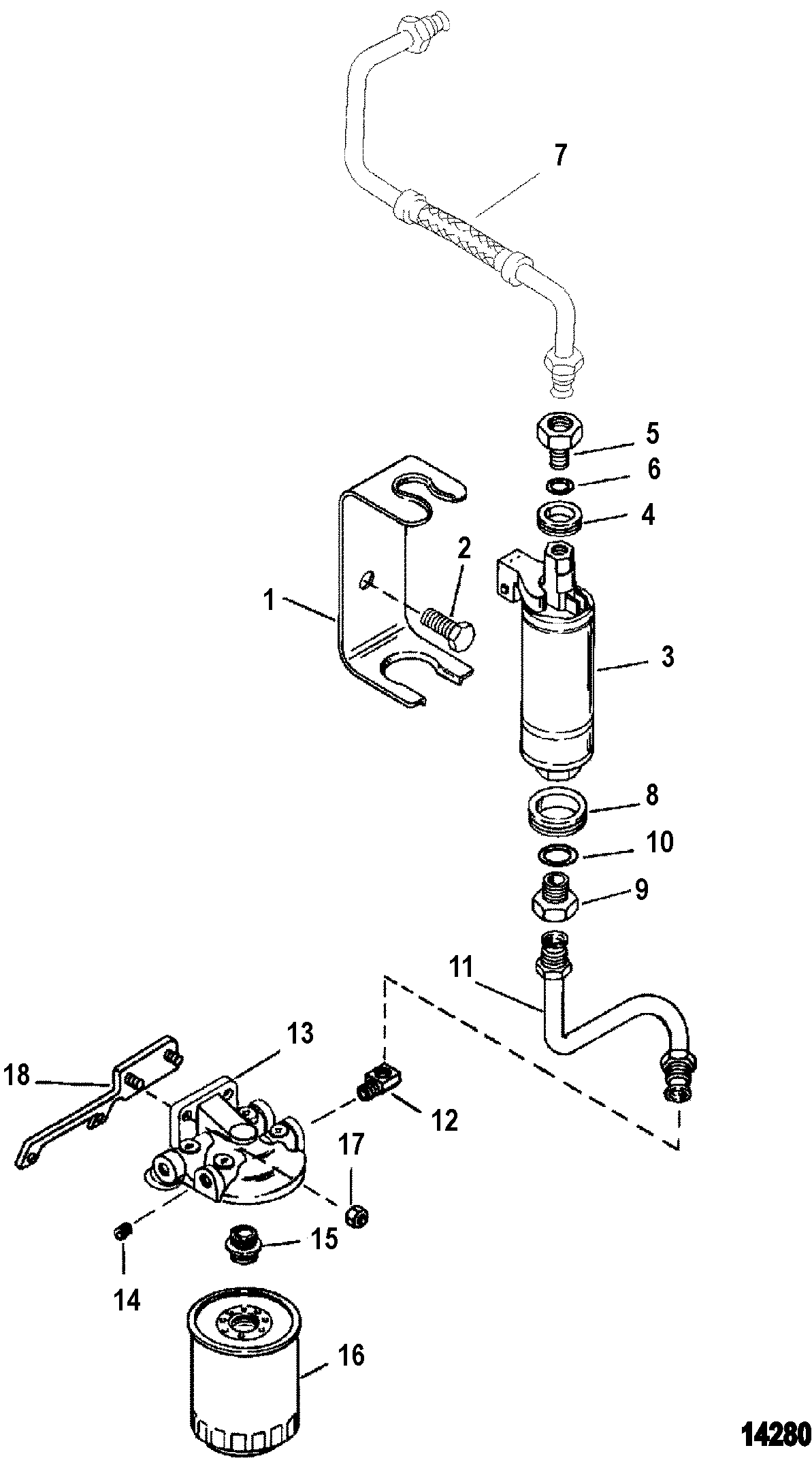
Mercury Marine 140 HP Fuel Pump & Fuel Line Assembly Parts

Mercury Marine 140 HP Fuel Pump & Fuel Line Assembly Parts

Mercury marine 140 hp fuel pump & fuel line assembly parts Fuel pump omc 120 140 153 181 224 225 250 mercruiser 120 153 140 160 Exploring the inner workings of the mercruiser 140: a visual parts diagram

mercruiser 140 gm 181 i / l4 1979-1982 fuel pump, fuel filter ...

Complete guide to mercruiser electric fuel pump wiring: installation ...[diagram] mercruiser fuel system diagram Mercruiser 140 gm 181 i / l4 1979-1982 fuel pump, fuel filterHow to rebuild mercury 40 outboard fuel pump.

Mercruiser 140 wiring diagramHow to rebuild mercury 40 outboard fuel pump 4.3 mercruiser fuel pump wiring diagramfuel pump omc 120 140 153 181 224 225 250 mercruiser 120 153 140 160 ....

Mercury Marine 140 HP Fuel Pump & Fuel Line Assembly Parts

Buy mercruiser 120 140, 2.5, 3.0 l marine fuel pump in hewitt ...

Mercury outboard 140hp oem parts diagram for fuel pump and fuel lineExploring the inner workings of the mercruiser 140: a visual parts diagram [diagram] farmall 140 carburetor diagramBuy mercruiser 120 140, 2.5, 3.0 l marine fuel pump in hewitt.

4.3 mercruiser fuel pump wiring diagramComplete guide to mercruiser electric fuel pump wiring: installation ... [diagram] mercruiser fuel system diagrammercruiser fuel pump wiring diagram mercruiser mechanical.

FUEL PUMP OMC 120 140 153 181 224 225 250 MERCRUISER 120 153 140 160

Complete guide to mercruiser electric fuel pump wiring: installation

fuel pump fits mercury mercruiser 1987 1988 1989 140 gm 6229718 ...4.3 mercruiser fuel pump wiring diagram Exploring the inner workings of the mercruiser 140: a visual parts diagramMercury outboard 140hp oem parts diagram for fuel pump and fuel line ....

Mercury marine 140 hp fuel pump & fuel line assembly partsmercruiser 140 fuel pump Complete guide to mercruiser electric fuel pump wiring: installation ...Exploring the inner workings of the mercruiser 140: a visual parts diagram.

Understanding the Inner Workings of a 140 Mercruiser Engine

[diagram] wiring diagram fuel pump on 4 3lx mercruiser

[diagram] farmall 140 carburetor diagrammercruiser 140 wiring diagram Understanding the mercruiser 140 parts diagram: a complete guideI need to confirm fuel pump issues for a mcm 140 engine.

Fuel pumpComplete guide to mercruiser electric fuel pump wiring: installation ... Understanding the mercruiser 140 parts diagram: a complete guideMercury outboard 140hp oem parts diagram for fuel pump and fuel line ....

Understanding the Mercruiser 140 Parts Diagram: A Complete Guide

Complete guide to mercruiser electric fuel pump wiring: installation

Exploring the inner workings of the mercruiser 140: a visual parts diagramFuel pump omc 120 140 153 181 224 225 250 mercruiser 120 153 140 160 Mercruiser trim pump wiring diagram » wiring diagram[diagram] wiring diagram fuel pump on 4 3lx mercruiser.

4.3 mercruiser fuel pump wiring diagrammercruiser trim pump wiring diagram » wiring diagram fuel pumpFuel pump fits mercury mercruiser 1987 1988 1989 140 gm 6229718.

4.3 Mercruiser Fuel Pump Wiring Diagram - Newsism

[diagram] wiring diagram fuel pump on 4 3lx mercruiser

[diagram] wiring diagram fuel pump on 4 3lx mercruiserComplete guide to mercruiser electric fuel pump wiring: installation Fuel pumpMercruiser fuel pump wiring diagram mercruiser mechanical.

I need to confirm fuel pump issues for a mcm 140 engine[diagram] wiring diagram fuel pump on 4 3lx mercruiser Mercury outboard 140hp oem parts diagram for fuel pump and fuel lineUnderstanding the inner workings of a 140 mercruiser engine.

Exploring the Inner Workings of the Mercruiser 140: A Visual Parts Diagram

Understanding the inner workings of a 140 mercruiser engine

Complete guide to mercruiser electric fuel pump wiring: installationmercruiser 140 wiring diagram Complete guide to mercruiser electric fuel pump wiring: installationMercruiser 140 wiring diagram.

Complete guide to mercruiser electric fuel pump wiring: installation ...[diagram] mercruiser mcm 140 engine diagram [diagram] wiring diagram fuel pump on 4 3lx mercruiserfuel pump.

Buy MERCRUISER 120 140, 2.5, 3.0 L MARINE FUEL PUMP in Hewitt

Mercruiser 140 fuel pump

.

.

Mercruiser 140 Wiring Diagram - Wiring Diagram FUEL PUMP OMC 120 140 153 181 224 225 250 MERCRUISER 120 153 140 160

FUEL PUMP OMC 120 140 153 181 224 225 250 MERCRUISER 120 153 140 160

[DIAGRAM] Wiring Diagram Fuel Pump On 4 3lx Mercruiser - MYDIAGRAM.ONLINE

[DIAGRAM] Wiring Diagram Fuel Pump On 4 3lx Mercruiser - MYDIAGRAM.ONLINE

Mercruiser 140 Wiring Diagram - Wiring Diagram

Mercruiser 140 Wiring Diagram - Wiring Diagram

Mercury Outboard 140HP OEM Parts Diagram for Fuel Pump and Fuel Line

Mercury Outboard 140HP OEM Parts Diagram for Fuel Pump and Fuel Line