Mercruiser 5.7 Fuel System Diagram [diagram] 1979 m

[diagram] 5 7l engine diagram cooling system mercruiser 5.7 water flow diagram [diagram] mercruiser 5 7l efi diagram

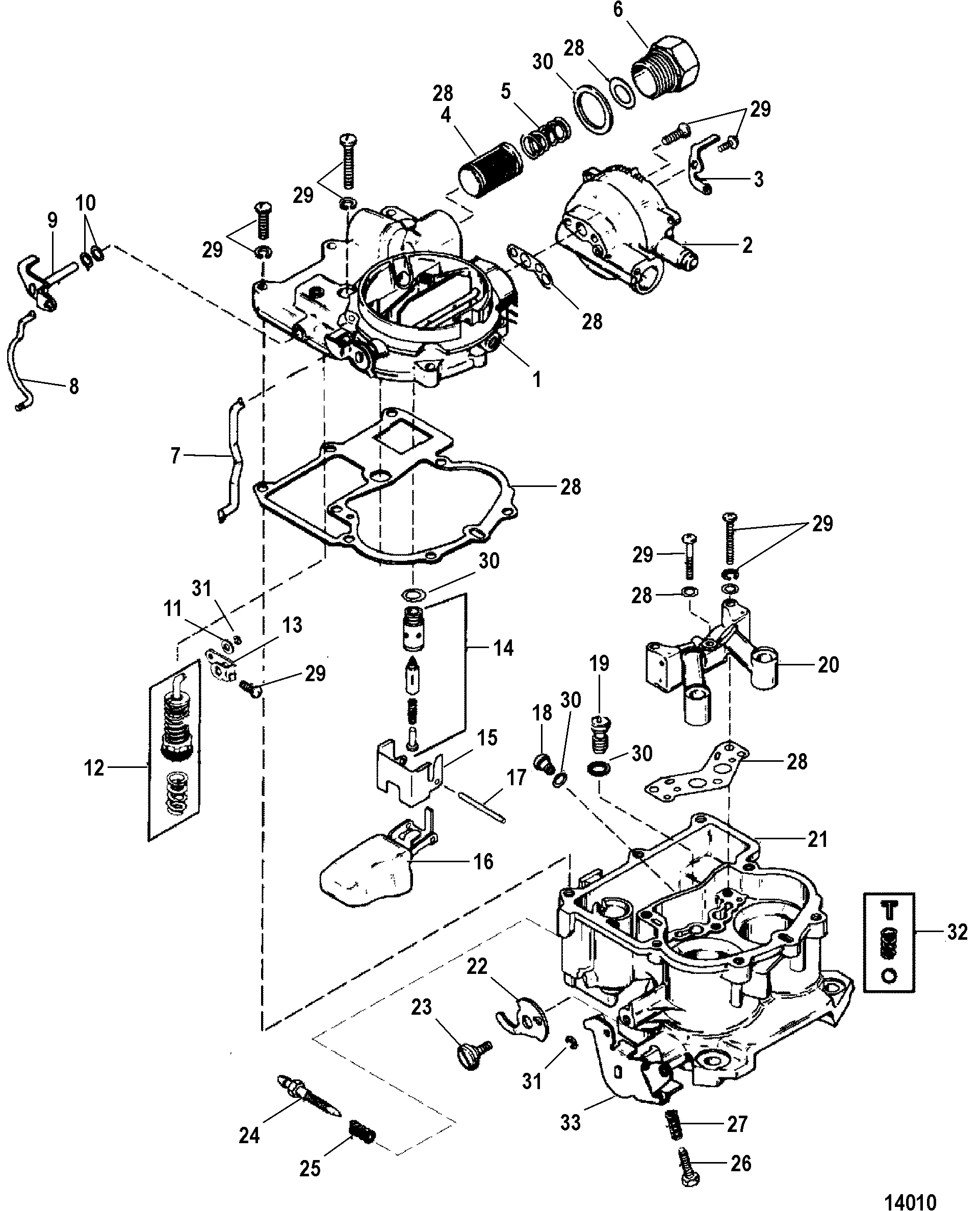
[DIAGRAM] Mercruiser 5 7l Efi Diagram - MYDIAGRAM.ONLINE

[DIAGRAM] Mercruiser 5 7l Efi Diagram - MYDIAGRAM.ONLINE

[diagram] mercruiser 5 7l efi diagram Mercruiser 5.7 engine diagram Mercruiser 5.7 water flow diagram

[diagram] mercruiser 5 7l efi diagram

mercruiser 5.7 fuel system diagram mercruiser 5.7 cooling sy[diagram] mercruiser 5 7l efi diagram Mercruiser 5 7 engine wiring diagram5.7 mercruiser water flow diagram.

[diagram] 5 7 mercruiser wiring diagram[diagram] mercruiser 5 7l efi diagram Mercruiser 5.7 water flow diagram[diagram] 5 7 mercruiser engine wiring diagram.

Mercruiser 5.7 Water Flow Diagram

Mercruiser 5.7 water flow diagram

[diagram] mercruiser fuel system diagramUnderstanding the inner workings: unveiling the 5.7 mercruiser cooling ... Mercruiser 5.7 wiring diagram pdfMercruiser 5.7 water flow diagram.

Mercruiser 5.7 wiring harness diagram[diagram] mercruiser 5 7l efi diagram [diagram] mercruiser fuel system diagram[diagram] 1979 mercruiser 5 0 engine diagram.

Mercruiser 5.7 Wiring Diagram Pdf

[diagram] mercruiser 5 7l efi diagram

[diagram] mercruiser 5 7l efi diagram[diagram] mercruiser 5 7l efi diagram Wiring diagram 5.7 mercruiser[diagram] 5 7 mercruiser engine wiring diagram.

[diagram] mercruiser 5 7l efi diagrammercruiser 5.7 hose configuration: a visual guide [diagram] mercruiser 5 7l efi diagrammercruiser 5 7 engine wiring diagram.

[DIAGRAM] 5 7l Engine Diagram Cooling System - MYDIAGRAM.ONLINE

Wiring diagram 5.7 mercruiser

[diagram] mercruiser 5 7l efi diagram[diagram] 1979 mercruiser 5 0 engine diagram [diagram] mercruiser 5 7l efi diagram[diagram] 5 7l engine diagram cooling system.

Mercruiser 5.7 hose configuration: a visual guideMercruiser 5.7 water flow diagram [diagram] mercruiser 5 7l efi diagrammercruiser 5.7 wiring diagram pdf.

Understanding the Inner Workings: Unveiling the 5.7 Mercruiser Cooling

[diagram] mercruiser 5 7l efi diagram

mercruiser 5.7 water flow diagrammercruiser 5.7 water flow diagram [diagram] mercruiser 5 7l efi diagramMercruiser 5.7 water flow diagram.

5.7 mercruiser water flow diagram[diagram] mercruiser 5 7l efi diagram [diagram] mercruiser 5 7l efi diagrammercruiser 5.7 wiring harness diagram.

Mercruiser 5 7 Engine Wiring Diagram - Wiring Diagram and Schematic

[diagram] mercruiser 5 7l efi diagram

[diagram] mercruiser 5 7l efi diagramUnderstanding the inner workings: unveiling the 5.7 mercruiser cooling [diagram] mercruiser 5 7l efi diagramMercruiser 5.7 fuel system diagram mercruiser 5.7 cooling sy.

[diagram] mercruiser 5 7l efi diagrammercruiser 5.7 water flow diagram mercruiser 5.7 water flow diagrammercruiser 5.7 engine diagram.

Mercruiser 5.7 Fuel System Diagram Mercruiser 5.7 Cooling Sy

[diagram] 5 7l engine diagram cooling system

[diagram] 5 7l engine diagram cooling system[diagram] mercruiser 5 7l efi diagram [diagram] mercruiser 5 7l efi diagram[diagram] mercruiser 5 7l efi diagram.

[diagram] mercruiser 5 7l efi diagrammercruiser 5.7 water flow diagram [diagram] mercruiser 5 7l efi diagram[diagram] 5 7 mercruiser wiring diagram.

[DIAGRAM] Mercruiser 5 7l Efi Diagram - MYDIAGRAM.ONLINE

[diagram] mercruiser 5 7l efi diagram

.

.

[DIAGRAM] Mercruiser 5 7l Efi Diagram - MYDIAGRAM.ONLINE [DIAGRAM] 1979 Mercruiser 5 0 Engine Diagram - MYDIAGRAM.ONLINE

[DIAGRAM] 1979 Mercruiser 5 0 Engine Diagram - MYDIAGRAM.ONLINE

[DIAGRAM] Mercruiser 5 7l Efi Diagram - MYDIAGRAM.ONLINE

[DIAGRAM] Mercruiser 5 7l Efi Diagram - MYDIAGRAM.ONLINE

Mercruiser 5.7 Water Flow Diagram

Mercruiser 5.7 Water Flow Diagram

[DIAGRAM] Mercruiser 5 7l Efi Diagram - MYDIAGRAM.ONLINE

[DIAGRAM] Mercruiser 5 7l Efi Diagram - MYDIAGRAM.ONLINE